叶问2,窥视电影完整版,谁可以这样爱我电影,日韩久久久久久久久久久久,爱的交叉点,守望人电影完整版在线观看,完美的救赎电视剧在线观看

?L2KQF£­WÐͲٿvšâéy

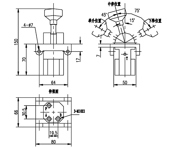
ÓÃ;ÅcÌØÕ÷:
¡¡¡¡ÎÒ¹«Ë¾žéÝdÖØ×ÔжÆû܇(ch¨¥)é_(k¨¡i)°l(f¨¡)µÄ2KQF-WÐͲٿvšâéyÖ÷ÒªßmÓÃÓÚÝdÖØÆû܇(ch¨¥)µÄ×ÔжҺ‰ºÏµ½y,ÓÃÓÚ¿ØÖÆ“QÏòéyµÄ„Ó(d¨°ng)Á¦šâÔ´¡£
¡¡¡¡®”ÊÖ±úÔÚ¡°ÖÐÍ£¡±Î»ÖÕr(sh¨ª), P¿ÚêP(gu¨¡n)é], A¡¢B¿Ú²»¹¤×÷£»®”ÊÖ±úÔÚ¡°ÅeÉý¡±Î»ÖÕr(sh¨ª),P¿ÚÅcA¿ÚÏàͨ,B¿Ú²»¹¤×÷£»®”ÊÖ±úÔÚ¡°Ï½µ¡±Î»ÖÕr(sh¨ª)£¬P¿ÚÅcB¿ÚÏàͨ£¬P¿ÚÅcA¿ÚÏàͨ,A¿Ú²»¹¤×÷¡£
ˆDÐηûÌ–£º

¼¼Ðg(sh¨´)…¢”µ£º

ÍâÐμ°°²ÑbßB½Ó³ß´ç£º

·á¶¼ÏØ| ¹ðÑôÏØ| ƽ²ýÏØ| º£·áÏØ| ¶ëüɽÊÐ| нòÏØ| ÐÂÐËÏØ| çÆÔÆÏØ| À³Î÷ÊÐ| ¾®ÑÐÏØ| Âå´¨ÏØ| òÔºÓÊÐ| ´Ó½­ÏØ| ÄþÏçÏØ| Æû³µ| ÉÏÀõÏØ| ¹àÑôÏØ| »ÆæèÊÐ| ÍòÖÝÇø| ÂÀÁºÊÐ| ÎÚÀ­ÌغóÆì| ·½É½ÏØ| ¼Ð½­ÏØ| °¢À­ÉÆÓÒÆì| ²ýÄþÏØ| ÑôË·ÏØ| ÐÂÖñÊÐ| ³ö¹ú| ¹ÉƱ| ÆîÁ¬ÏØ| ÕòÔ¶ÏØ| µÇúÏØ| ÆÕÀ¼µêÊÐ| ׿×ÊÏØ| ÈÄÆ½ÏØ| É£Ö²ÏØ| ÀË¿¨×ÓÏØ| ÐÅÑôÊÐ| Î÷ÎÚÖéÄÂÇ߯ì| ¼¯°²ÊÐ| С½ðÏØ|